- A+
所属分类:科技
IT之家 8 月 23 日消息,根据美国商标和专利局最新公示的清单,苹果公司获得了一项智能戒指专利,探索智能戒指在追踪佩戴者健康生理数据之外,还能进一步联动苹果生态中的其它产品。
支持多种输入方式
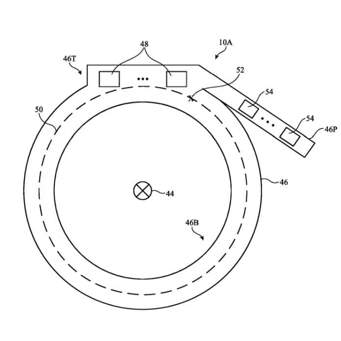
IT之家援引专利描述,苹果专利中描述的智能戒指支持手势、触摸输入、力输入、语音输入、指向输入、注视输入等各种输入方式,此外还可以包含涉及身体部位的其它输入(例如单指 / 多指配合身体部分的位置、方向和移动等等)。




专利描述该戒指还可以具有惯性测量单元和 / 或其他传感器,可收集此类基于身体的输入。
智能戒指还可以和用户环境下的其它物品交互,例如可以很容易地与用户环境中的 NFC 设备交互。
探索多元交互
苹果公司专利描述称该智能戒指可以和 Vision Pro 头显、iPhone、iPad、Apple TV 等设备交互,并能控制智能家居设备。

在专利描述中提供了一个示例,用户躺在床上准备睡觉,可以手指台灯,然后说“关灯”,那么就能自动关闭用户所指的灯具。
打造私人助理
与其他所有智能戒指一样,苹果专利描述称该智能戒指也可以跟踪你的健康和健身情况,为你提供心率、步数、睡眠规律等数据。
该戒指支持将健身数据导出到 iPhone 或 MacBook 上,以便让用户更好地洞察身体信息。
广告声明:文内含有的对外跳转链接(包括不限于超链接、二维码、口令等形式),用于传递更多信息,节省甄选时间,结果仅供参考,IT之家所有文章均包含本声明。



