- A+
快科技8月20日消息,《黑神话:悟空》今天上午10点(UTC+8)在PS5和PC平台全球同步解锁游玩。

《黑神话:悟空》是由游戏科学团队开发的以中国神话为背景的动作冒险游戏,核心内容基于《西游记》原著世界观创作,是中国第一款真正意义的3A游戏大作。


天眼查App显示,游戏科学关联公司深圳市游科互动科技有限公司成立于2014年6月,法定代表人、董事长、总经理为冯骥。
注册资本约65.79万人民币,经营范围含软件设计与开发,游戏开发,系统集成、网络工程、企业信息化系统、网站设计与开发等,由冯骥、深圳市游科互动企业管理中心(有限合伙)、深圳市游科研发企业管理中心(有限合伙)、英雄游戏旗下天津英雄金控科技有限公司、腾讯旗下广西腾讯创业投资有限公司共同持股。

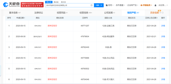
知识产权信息显示,该公司已申请注册多枚“黑神话悟空”“黑悟空”“黑神话”“820 捌贰零”“黑神话·山海”“黑神话·大荒”等商标,当前商标状态多为已注册。
值得一提的是,该公司还成功注册多枚“黑神话姜子牙”“黑神话钟馗”商标。有爆料称,这是《黑神话》系列的三部曲。
此前,知名爆料者ignusthewise因准确预测《黑神话:悟空》新情报发布日期而备受关注。
前不久,ignusthewise分享了一则引人瞩目的消息。他表示,《黑神话》系列将扩展为三部曲,并确认该消息属实。
ignusthewise透露,游戏科学工作室已正式注册了《黑神话:姜子牙》与《黑神话:钟馗》的商标,暗示在《黑神话:悟空》及其潜在DLC发布之后,这两款新游戏或将成为开发重点。
分析认为,游戏科学之所以规划《黑神话》三部曲,很大程度上得益于《黑神话:悟空》在欧美市场的热烈反响,以及中国本土投资者的积极看好,这些正面因素共同促成了项目获得额外的开发资金支持。

【本文结束】如需转载请务必注明出处:快科技
责任编辑:朝晖



