- A+
所属分类:科技
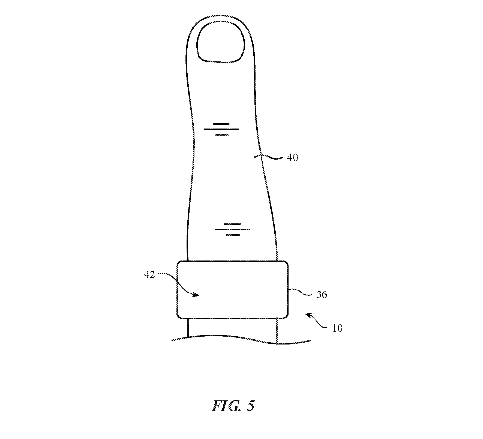
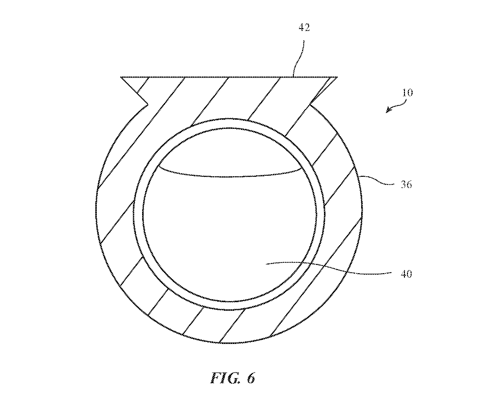
IT之家 8 月 14 日消息,根据美国商标和专利局 8 月 13 日公示的清单,苹果公司获得了一项“戒指”相关的专利,重点可以联动 Apple Watch、Apple Vision Pro 等设备,带来更无缝的使用体验。
IT之家附上相关图片如下:


根据消息源 appleworld 报道,专利重点描述智能戒指和其它产品的无缝交互,可以兼容的设备包括:
移动电话
智能手表
电脑
电视
头显
耳机
扬声器或者回音壁
智能灯具
恒温器
其它智能家居产品
苹果在专利中表示,该智能戒指包括用于监控身体生理数据的各种传感器,然后通过收集用户的输入,用于调整上述目标设备的运行参数等等。
目标电子设备可通过感应用户注视点的注视跟踪传感器、检测用户设备指向方向的方向传感器或其他传感器电路来识别。
目标电子设备可向用户提供视觉反馈、音频反馈和 / 或触觉反馈,以确认哪个电子设备已被识别为感兴趣的目标电子设备。
广告声明:文内含有的对外跳转链接(包括不限于超链接、二维码、口令等形式),用于传递更多信息,节省甄选时间,结果仅供参考,IT之家所有文章均包含本声明。



